前拾式
HG2500F
前拾式
HG2500F作業車の前で拾うボールを踏まない前拾い式!!
ボール積載量 約2,000個
HG2500F
特 長
-
ボールを踏まない前拾い式
作業車の前で集球しますので作業車のタイヤでボールを踏みません。 -
作業車との連結はトレーラーヒッチを採用
集球機先端にトレーラーボールを設置して作業車とトレーラーヒッチでつながりますので、作業時には滑らかに動きながら連結・切り離しは簡単に行えます。 -
集球率抜群の集球ピン式
特殊配合強化樹脂製の集球ピンによる「ピンポイント集球」でボールが密集したフィールドに於いても群を抜いた集球率を発揮します。 -
3輪のタイヤ前方にボールガイドを装備
前輪自在キャスターおよびサイド芝用幅広タイヤの前にゴム式ボールガイドを装備してタイヤによるボール踏み付けを防止しています。 また、二つのドラムの間にはローラー式ボールガイドを装備してボールのすり抜けを防止しています。 -
芝用幅広低圧タイヤを採用
ボール積載時に重量がかかるサイドタイヤに低圧幅広タイヤを使用して、芝への影響を抑えています。
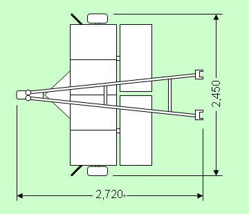
概略寸法図
概略仕様
| 全長・全幅・全高 | 2,720mm×2,450mm×900mm |
| 集 球 幅 | 2,450mm |
| 集 球 ピ ン 数 | 1,824本(912本×2ドラム) |
| ボール積載量 | 約2,000個 |
| タ イ ヤ | 幅広・低圧タイヤ×2 自在キャスター×1 |
| ボール収納方式 | ケース×4 |
※仕様は改良の為、予告なく変更することがあります。







